Toyota Patents Variable - Thickness Steering Wheel That Changes On The Fly

In the realm of driver controls, there is perhaps no interface more sacred than the steering wheel. Attempts to remake it have elicited justified anger, as nothing seems to violate our sense of dominion over the vehicle than tweaks to this humble hoop. That's not stopping automakers, though, and the latest re-think of the steering wheel comes from Toyota in the form of a rim that changes its thickness on the fly.
The reason, Toyota says in a patent filing discovered by a user on NewNissanZ (full PDF here), is that existing methods of lane keeping alerts can be distracting to the driver. These include beeps, flashing lights, vibrations to the steering wheel, or even a subtle push in the opposite direction when the computer believes the driver is straying from a lane.
Such alerts can be helpful but can also be a nuisance, or even harmful, if, say, the flashing warning causes the driver to look away from the road, or if the wheel pushes back when the driver actually intends to make an evasive lane change.
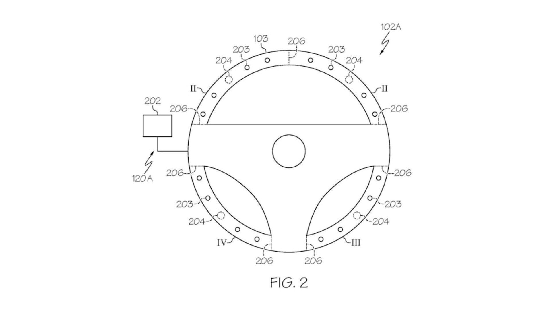
Toyota's solution? A steering wheel that uses expansion and contraction of its rim to alert the driver. Embedded throughout the rim of the steering wheel are points that can grow thicker or thinner in order to vary the friction between the driver's hand and the wheel. The thicker the section, the greater the friction, and vice versa. When friction increases, it acts as a reminder, or even elicits a subtle tug, that can help keep the car centered in its lane.
Thickness would be governed by tiny actuators installed around the rim. These can take the form of a small spring that expands or contracts, an inflation/deflation device or a miniature cam. Activated electronically, they allow one section of the rim to expand or contract while others remain constant.
In one diagram, Toyota illustrates how a driver might incorrectly estimate how much to turn the wheel to clear a right turn. On the current trajectory, where the front wheels aren't angled sharply enough, the car would leave the road. Presumably, the steering wheel expanding under the driver's right hand, increasing friction, would prompt a tug on the wheel to pull the car tighter into the turn.
It's hard to envision how this would feel in practice, but there is potential in this solution. A sensory reminder works better than an auditory or visual alert, and this action might feel more organic than a push from the wheel itself. Or, it could just feel weird and act as yet another invasion of our driving autonomy. It'll be hard to judge until experienced, assuming the idea ever makes it to the real world.
Related video: